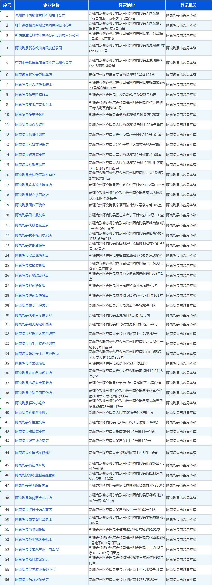
2022年注销企业名单
| 索 引 号 | K45893645/2023-00018 | 主题分类 | 工商 |
| 名 称 | |||
| 主 题 词 | 成文日期 | 2022-12-30 18:47 | |
| 文 号 | 〔〕号 | 发布日期 | 2022-12-30 18:41 |
| 发文单位 | 阿克陶县市场监督管理局 | 发布机构 | 阿克陶县市场监督管理局 |

解读文章
| 索 引 号 | K45893645/2023-00018 | 主题分类 | 工商 |
| 名 称 | |||
| 主 题 词 | 成文日期 | 2022-12-30 18:47 | |
| 文 号 | 〔〕号 | 发布日期 | 2022-12-30 18:41 |
| 发文单位 | 阿克陶县市场监督管理局 | 发布机构 | 阿克陶县市场监督管理局 |
